高性能、高可靠: ·交流驱动系统,提供强劲动力;控制更精确,运行更平稳; ·高强度立式变速箱,超长工作寿命; ·低噪低故障液压站,经过多层检测测试的油缸及管路,保证了液压系统高可靠; ·质量可靠的美国AMP防水接插件及电器件,所有电线、电缆均有可靠的保护和固定,大大降低了电器故障; ·CJ型门架槽钢,高抗弯性能提高了整体门架强度; ·全电磁阀操纵,高效散热系统(支持长时间连续工作)。
更安全: ·液压系统防爆设计,即使油管爆裂,门架也不会快速下降,提高安全性; ·紧急反向行驶功能,使操作者避免受到伤害; ·紧急断电插拔件,在操作失控时可轻松切断所有电源,避免紧急事故; ·起升多重限位,堆垛更安全; ·防滑制动功能,使车子在失控或者斜坡行驶时,防止其下滑; ·电磁阀断电锁死功能; ·双路监控电子转向,国际一流设计(电转向)。
易操作: ·充分考虑人机工程的操控台,各功能按钮方便轻松操作; ·折叠式踏板,具有缓震功能,可消除操作者在行驶过程中路面给予的冲击; ·紧凑设计,行驶灵活自如; ·踏板折叠后,可在较小空间内低速操纵; ·侧拉电瓶箱设计,轻松更换电瓶,方便连续作业; ·电磁比例阀控制,操作更舒适; ·电子转向,操纵更轻便(电转向)(BT00539可选配/BT00520标配)
便维护: ·AC电机,免于维护; ·配置计时器和电量表,方便提醒操作者适时充电,保护电瓶; ·机体拆装便捷,仅拧下2颗螺栓打开门罩,即可对主要关键零部件进行检测、维修及更换; ·直立式电机的使用,使电机、刹车等的检测、维修直接方便,维修性能大大好于横置式电机; ·控制器自我诊断系统,通过手持单元显示故障代码,解决故障更方便; ·低电压自动保护,延长电瓶寿命。
| |
货 号 |
BT00539 |
BT00520 |
| 特征 |
动力形式 |
|
蓄电池 |
蓄电池 |
| 驾乘方式 |
|
步行式 |
站驾式 |
| 额定载重量(Q) |
kg |
1200 |
1500 |
| 载荷中心距(C) |
mm |
600 |
600 |
| 轴距(y) |
mm |
1365 |
1365 |
| 重量 |
自重 |
kg |
1835 |
1865 |
| 桥负荷,货叉前移 空载驱动端/承载端 |
|
1140/705 |
1150/715 |
| 桥负荷,货叉后移 空载驱动端/承载端 |
|
1240/605 |
1250/615 |
| 桥负荷,货叉前移 满载驱动端/承载端 |
kg |
285/2760 |
310/3055 |
| 桥负荷,货叉后移 满载驱动端/承载端 |
kg |
975/2070 |
1075/2290 |
轮胎 底盘 |
轮胎材料,驱动轮/承载轮 |
|
聚氨酯/聚氨酯 |
聚氨酯/聚氨酯 |
| 驱动轮尺寸(直径×宽度) |
mm |
Φ230×75 |
Φ260×105 |
| 承载轮尺寸(直径×宽度) |
mm |
Φ102×73 |
Φ102×73 |
| 平衡轮尺寸(直径×宽度) |
mm |
/ |
Φ100×73 |
| 驱动轮/承载轮 数量 (x=驱动轮) |
|
1x/4 |
1x2/4 |
| 前轮距,承载端(b10) |
mm |
1000 |
1000 |
| 后轮距,驱动端(b11) |
mm |
0 |
0 |
| 尺寸 |
货叉架倾角(前/后)(α/β) |
° |
2/4 |
2/4 |
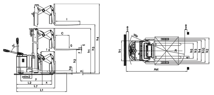
| 全高(门架收缩)(h1) |
mm |
2090 |
2090 |
| 自由起升高度(h2) |
mm |
0 |
0 |
| 额定起升高度(h3) |
mm |
3000 |
3000 |
| 最大起升时全高(h4) |
mm |
3960 |
3960 |
| 支腿高度(h8) |
mm |
135 |
135 |
| 全长(l1) |
mm |
2191 |
2299 |
| 货叉端面至车尾长度(l2) |
mm |
1121 |
1230 |
| 全宽(车身/支腿)(b1/b2) |
mm |
850/1100 |
850/1100 |
| 货叉尺寸(s/e/l) |
mm |
40/100/1070 |
40/100/1070 |
| 货叉架类型A,B |
mm |
A |
A |
| 货叉架外宽(b3 ) |
mm |
800 |
800 |
| 货叉调节宽度(b5) |
mm |
200-780 |
200-780 |
| 支腿内宽(b4) |
mm |
900 |
900 |
| 前移距(l4) |
mm |
590 |
590 |
| 门架最小离地间隙(m1) |
mm |
70 |
70 |
| 车身最小离地间隙(m2) |
mm |
70 |
70 |
| 最小直角堆垛宽度(1000×1200托盘)(Ast) |
mm |
2592 |
2692 |
| 最小直角堆垛宽度(800×1200托盘)(Ast) |
mm |
2633 |
2734 |
| 转弯半径(Wa) |
mm |
1560 |
1660 |
| 车身长度(不含货叉)(l7) |
mm |
1680 |
1790 |
性能 参数 |
行驶速度,满载/空载 |
km/h |
5.5/6 |
5.5/6 |
| 起升速度,满载/空载 |
m/s |
0.09/0.135 |
0.09/0.135 |
| 下降速度,满载/空载 |
m/s |
0.16/0.15 |
0.16/0.15 |
| 前移速度,满载/空载 |
m/s |
0.08/0.08 |
0.08/0.08 |
| 最大爬坡度,满载/空载 |
% |
6/10 |
6/10 |
| 制动形式 |
|
电磁制动 |
电磁制动 |
| 电动机 |
驱动电机额定功率 S2 60分钟 |
kW |
1.27/1.5 |
3.3 |
| 起升电机额定功率 S3 15% |
kW |
3 |
3 |
| 电瓶电压/标称容量K5 |
V/Ah |
24/210 |
24/280 |
| 电瓶重量 |
kg |
190 |
230 |
| 电瓶允许最大尺寸 |
mm |
815×208×630 |
815×208×630 |
其他 数据 |
噪音等级 |
dB (A) |
74 |
74 |
| 驱动控制类型 |
|
交流 |
交流 |
| 转向类型 |
|
机械(可选配电子) |
电子 | |