高空作业平台
 首  页  产品中心 关于ROBT 客服中心 营销中心 技术与服务 新闻中心 联系我们
热门产品: 搬运车    高空作业平台    电动堆高车    电动叉车    电动牵引车    购物车:0
 
   大吨位电动搬运车 3/3.5T 您的当前位置:首页 >> 产品中心 >> 大吨位电动搬运车 3/3.5T   
 
BT07300 BT07301
分享到:
 
产品描述   细节设计   视频展示   项目案例

随着大型物流集散中心的不断发展,以及对搬运效率的要求不断提高,单次托盘承载要求往往突破传统电动搬运车2吨的承载能力,并且要求超常规的高速行走以解决超大空间内的高效搬运。ROBT大吨位电动搬运车,专门为大型室内物流基地,大型超市配送中心,大型工厂等使用场合提供快速物料搬运解决方案。

高性能&高可靠       
·交流驱动系统使整车反应更迅速,控制更精确,运行更平稳,电瓶使用寿命更长。  
·特殊设计的交流驱动电机,提供超大动力,最高时速可达14公里,是电动仓储车辆中当之无愧的“神行侠”。
·最新的交流控制器,具备再生制动、反向制动等功能;       
·可靠的液压站,低噪音,小振动,密封性能好,空载满载下降速度自动调整,确保起升下降平稳可靠。
·超强刚性车身,专为解决大吨位高速搬运设计。
·超大油缸设计,卓越起升功能。
·可调长连杆设计,解决高强度货叉平衡问题。

更安全        
·
活动部件远离操作者,避免意外事故。        
·高速/慢速任意切换操作,适合不同驾驶水平人群,安全可靠。        
·双重扶手保证,操作者在任何站立位都得到足够支撑保护。        
·紧急反向行驶功能,使操作者避免受到伤害。        
·简单可靠的电池接插把手设计,必要时可轻松全车断电,避免紧急事
·防滑弹性脚垫设计,安全舒适。        
·超大踏板设计使驾驶者完全处于驾驶位保护,防止高速行走时撞击障碍物导致驾驶员受伤。

易操作        
·轮架金属导轮设计,进出空托盘与轻型车相比毫不逊色。        
·折弯长手柄设计符合人机工程学,手柄头按钮配合上扶手按钮,可根据不同操作习惯实现多方位,全视野的操作,·长时间工作安全舒适。  
·专门选配高强度高速轮胎,性能优越。
·离机拣选功能选配,一机多用,可用作地面拣选车。
·侧拉电池箱设计,轻松更换电池,方便连续作业,开放式电池箱设计可选配超大容量电池,适应不同工况需求。

易维护       
·防尘防水AMP接插件和耐热耐蚀耐磨的导线应用,延长电气系统使用寿命。       
·仅拧去2颗螺丝,及可完全打开机体,维护保养轻松便捷。       
·电脑诊断控器制代码,专业便捷。       
·长短叉可选。
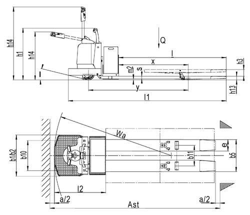
货 号 BT07300 BT07301
特征 动力单元   蓄电池
操作类型   站驾式
载荷(Q) kg 3000 3500
载荷中心距(C) mm 600
前轮到货叉垂直面距离(x) mm 920
轴距(y) mm 1722
重量 自重(不含电瓶) kg 570 690
轮胎
底盘
轮胎类型,驱动轮/承载轮   聚氨酯/聚氨酯
驱动轮尺寸(直径×宽度) mm Ф254X95
承载轮尺寸(直径×宽度) mm Ф82.5X165
平衡轮尺寸(直径×宽度) mm Ф100X63.5
驱动轮,平衡轮/承载轮数量   1/2/2
前轮距,操纵端(b10) mm 668
后轮距,承载端(b11) mm 456
尺寸 起升高度(h3) mm 140
手柄高度,最小/最大(h14) mm 970/1602
货叉下降后高度(h13) mm 82.5
整车长度(l1) mm 2325
到货叉垂直面的长度(l2) mm 1135
整车宽度(b1/b2) mm 915
货叉尺寸(s/e/l) mm 60/230/1190
货叉外宽,最小/最大(b5) mm 686 710
通道宽度,带1000×1200mm托盘(Ast) mm 2555 3765
转弯半径(Wa) mm 2064 2590
性能 行走速度,满载/空载 km/h 10.5/14.5
起升速度,满载/空载 m/s 30/33
下降速度,满载/空载 m/s 40/38
爬坡度,满载/空载 % 6/15
制动   电磁
驱动 驱动电机功率 kw 4
起升电机功率 kw 2.2
电瓶电压/容量 V/Ah 24/360
其他 驱动控制类型   交流
厂商   萨牌
工作分贝 dB (A) 70

产品主要配置清单:
序号 配置名称 品牌 产地
1 行走电机 ISKRA 欧洲
2 驱动轮 Stellana 美国
3 行走电控 ZAPI 意大利
4 液压站 Bucher 瑞典
5 电量表 CURTIS 美国
6 接插件 AMP 美国
7 加速器 CURTIS 美国
8 变速箱 COMER 意大利
拨打服务热线:021-57703699转1,由客服为你服务!
为了更好的服务于客户,罗倍拓的客服代表可能要求您提供相应的联系方式.谢谢配合!
 
更多产品  
1.5T 经济型全电动搬运车
1.5T 经济型全电动搬运车
额定载重1500kg
载荷中心距600mm
起升高度115mm
转弯半径1485mm
查看详情>>
经济型全电动托盘搬运车
经济型全电动托盘搬运车
额定载重1500kg
载荷中心距600mm
起升高度115mm
自重(带电瓶)200-195kg
查看详情>>
迷你全电动搬运车
迷你全电动搬运车
额定负载 1500kg
载荷中心 600mm
货叉起升高度 195mm
标准货叉外宽 560/685mm
查看详情>>
电子转向站驾式电动搬运车
电子转向站驾式电动搬运车
额定负载 2000-3000kg
载荷中心 600mm
货叉起升高度 120mm
货叉外宽 570/680mm
查看详情>>
经济型配送专用电动搬运车
经济型配送专用电动搬运车
额定载重1600kg
载荷中心距600mm
起升高度115mm
转弯半径1465mm
查看详情>>
踏板式全电动搬运车
踏板式全电动搬运车
载荷2000/2500/3000kg
起升高度125mm
转弯半径1700mm
自重(含电瓶)670/690kg
查看详情>>
2.0T电子转向踏板式电动搬运车
2.0T电子转向踏板式电动搬运车
额定载重2000kg
起升高度125mm
载荷中心600mm
转弯半径2075mm
查看详情>>
侧驾式电子转向电动搬运车
侧驾式电子转向电动搬运车
额定载重2000kg
起升高度125mm
载荷中心600mm
转弯半径2075mm
查看详情>>
 
返回页头
 
 
热卖促销
[01] 搬运设备
[02] 堆高设备
[03] 电动叉车
[04] 内燃叉车
[05] 高空作业
[06] 升降平台
[07] 起重吊运
[08] 仓储设备
[09] 工位装备
[10] 清洁设备
[11] 环保节能
[12] 包装设备
[13] 称重设备
 
 
   
 
产品体系
高端设计
品牌策略
直销模式
品牌优势
租赁业务
持续发展
 
产品关建词
下载专区
视频展示
产品目录
公司资质
 
物料搬运知识
高空作业平台
起重设备知识
环保节能产品
工业安全知识
售后保养知识
 
服务概述
服务特点
客户价值
售后服务
展厅及OEM基地
行业应用
 
精选案例
出口案例
物流运输
服务行业
汽车行业
食品化工 更多>>